
Topics: PlayStation, PlayStation 5, Sony

Topics: PlayStation, PlayStation 5, Sony
I don’t know about you, but I’m a bit of a hoarder. I’ve got boxes full of weird old cables just in case I ever need them. I know full well the day I need them is the day after I’ve thrown them out.
I also have a box full of old controllers for PlayStations, Nintendos, Segas and Xboxes. Though I’ll tell you what, the wired Xbox 360 controller was a gift from the gods for PC gaming before Steam added wireless controller compatibility. Anyway, this isn’t about Xbox as you might have been able to tell from the title. It’s about Sony. And I’ve got some great news if you, like me, have been hoarding all your old peripherals for years.
Of course, Sony’s modern PlayStation 5 controller, the DualSense, is a mightily impressive piece of kit in its own right…
Advert
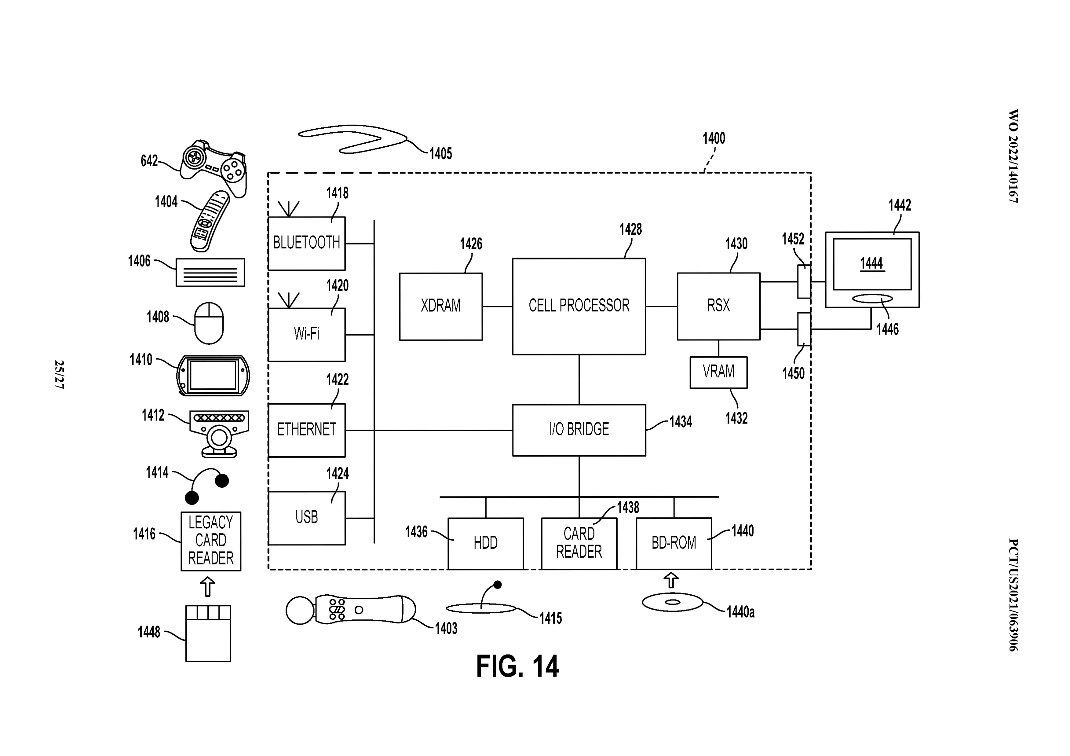
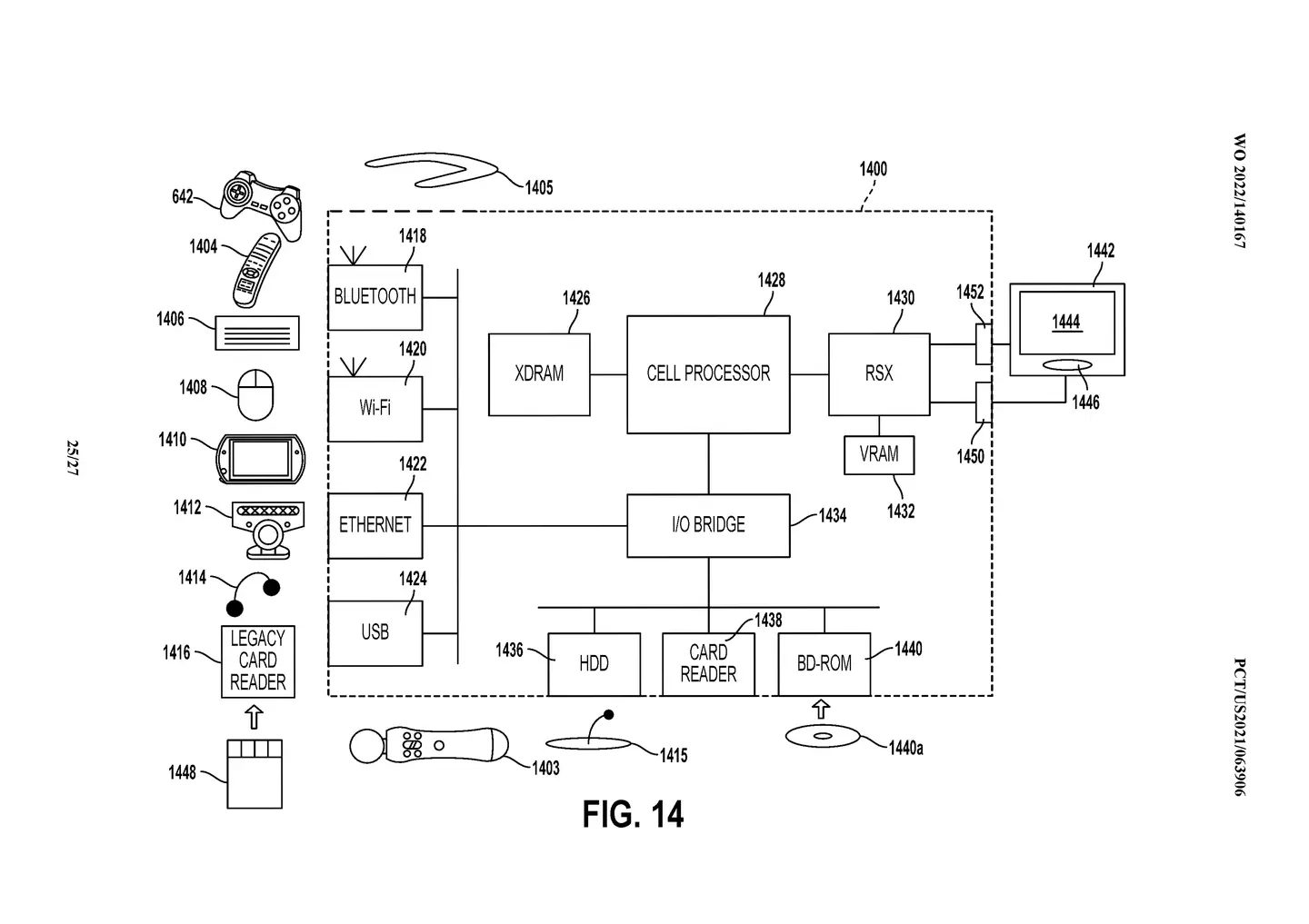
A new patent filed by Sony titled “Systems and Methods For Converting A Legacy Code Into An Updated Code” seems to suggest they have plans to incorporate some PS3-era tech such as the EyeToy and Move controllers and a “legacy card reader” (something to do with memory cards, perhaps) with their modern PS5 console. The patent itself is a bit word soup-y but, in short, it’s an emulation process that would allow the usage of those old gadgets.
This move comes as a bit of a surprise for a company that has very famously foregone the decision to emulate their PS3 legacy titles - though as we’ve pointed out, there are many reasons why this might have been the case - and may have something to do with the recent PS Plus merger with PS Now, where subscribers will have access to a whole bunch of old PlayStation titles.

There’s also the consideration that Sony have doubled down their commitment to PSVR with the impending release of the PSVR2, and adding a Move controller to that diagram may mean we can look forward to some older games getting VR compatibility.
That is, of course, pure speculation on my part, and we don’t know for sure what Sony has planned with this patent, if they even have anything planned at all. As with most things, we’ll just have to sit quietly and wait.