
Back in December, we reported that Sony had patented a new AI tool which would add tons of new censorship options to the PlayStation 5, Xbox Series X/S, and Nintendo consoles.
Aimed at making every game child-friendly (if you choose to do so), the censorship tool would use AI to detect and access a game’s audio and video and in turn, will be able to provide censorship courtesy of muted or hidden content or even deepfake technology.
Now it seems as though Sony has been working on yet another patent and once again, it will use AI to help shape, or in this case, completely change the future of gaming.
Have you ever been playing a game and finding yourself stuck at a certain level? Worst case scenario is getting a friend to play it for you or you may even look up tutorials to help you out.
Advert
However, with this brand-new patent, players will be able to recruit the help of an AI companion.
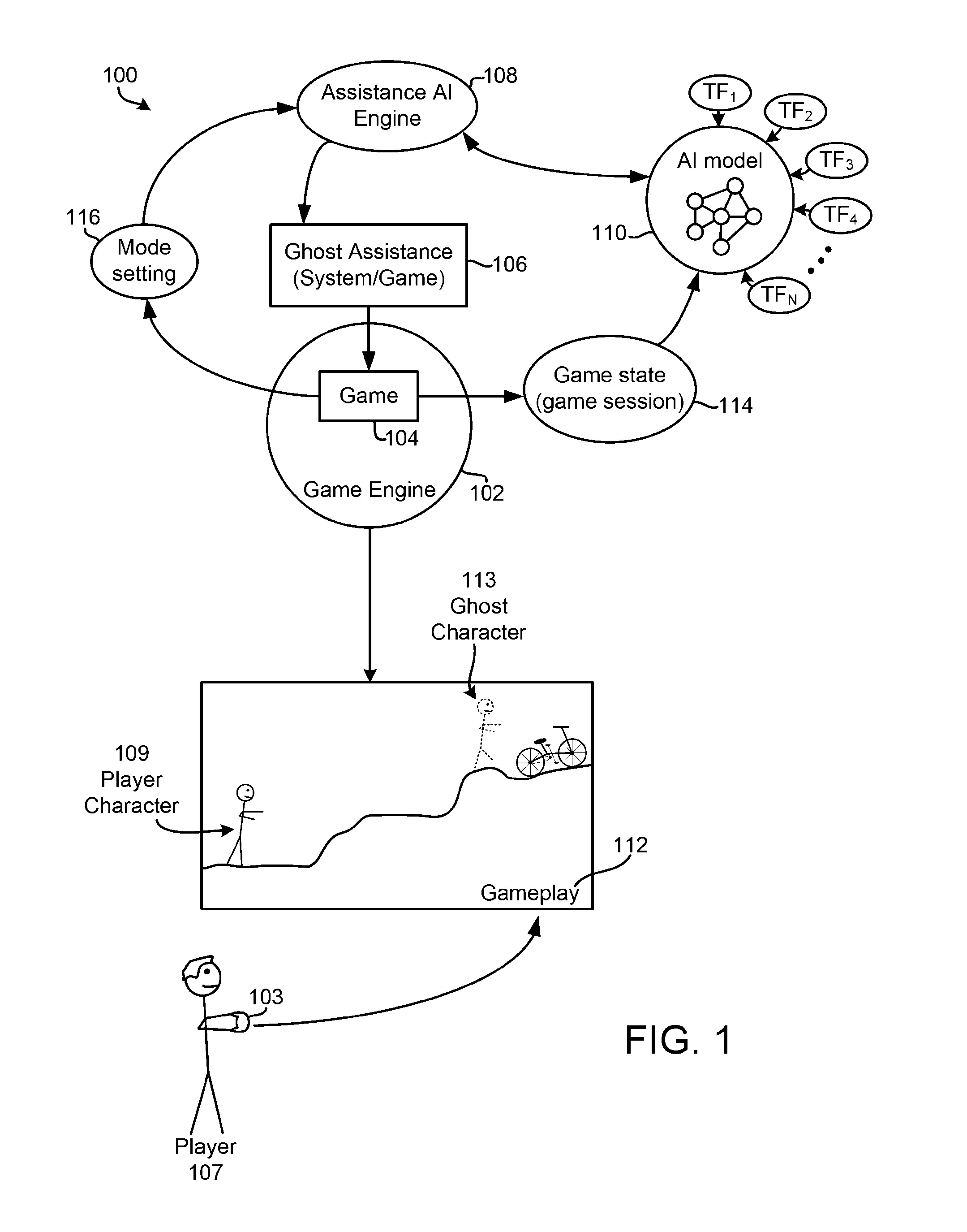
Titled ‘Ghost Player’ in the patent documents, players will be able to call down an AI-generated “ghost” version of their character who can complete the obstacle you are facing by completing a small part of the game, or the rest of a level entirely.
“Although video game technology has seen many advances, some players find themselves in need of assistance,” the documents read.
“Games become very complicated, so players who are not experts oftentimes quit playing or find it hard to complete tasks.

“Players are able to do research for the game or even lookup prior gameplays on internet sites, but that process is time consuming and many times not very relevant to tasks and/or scenarios currently being encountered by the player.”
The AI Will Adapt To Your Preferences
As a way to save player’s time (although I would say that working it out is part of the fun), Sony wishes to enable a Ghost Player for its future titles.
The Ghost Player would be available in two scenarios: Guide Mode or Complete Mode.
In Guide Mode, players will be able to recruit the help of their spectral guide who will simply demonstrate the path, allowing players to then attempt it themselves.
However, in Complete Mode, the AI-guide will complete the entire section for the player.
The documents reveal that this patent was born as an evolution of the PlayStation 5 Game Help System with the latter allowing players to access guidance thanks to images and videos.
Now thanks to the advances in AI technology, this is the next major step in assistance for players but it remains to be seen how many users would implement a Ghost Player if the idea comes to market.
Topics: Sony, PlayStation, PlayStation 5